車輛製動襯片剪切強度榴莲视频成视频人APP測試
1、車輛製動襯片剪切強度測試原理
車輛在使用情況下刹車時,在盤式製動器襯塊材料內部會產生很大的剪切應力,在鼓式製動器襯片中,剪切應力會因幾何效應而增大。國標GB/T 26739-2011規定了通過榴莲视频成视频人APP如何測試相應的剪切應力。
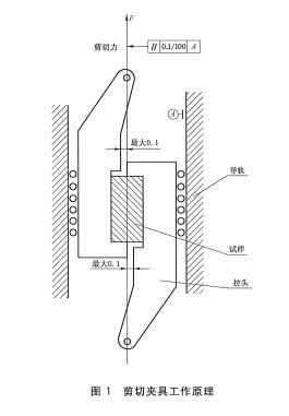
2、剪切夾具示意圖
3、測試要求
a、最少製備5件試樣,試樣受檢平麵應與正常製動時的手裏方向平行。試樣尺寸如下:長20MM,KUAN 20MM,厚5MM或10MM。
b、在榴莲视频成视频人APP上裝好剪切夾具,並安裝好試樣,以平均加載速率4500N/s進行加載,當剪切力高於5000N時,建議加載裝置瞬間加載速率浮動範圍上下不超過2250N/s.
a、剪切夾具上下兩部分,剪切力通過夾具與試樣兩者的中線,並於導軌平行,誤差不能超過規定範圍。
c、榴莲视频黄老版本下载加載要平穩,不能有衝擊。直至襯片材料破裂為止。
試驗報告輸出最大力及剪切麵積。

